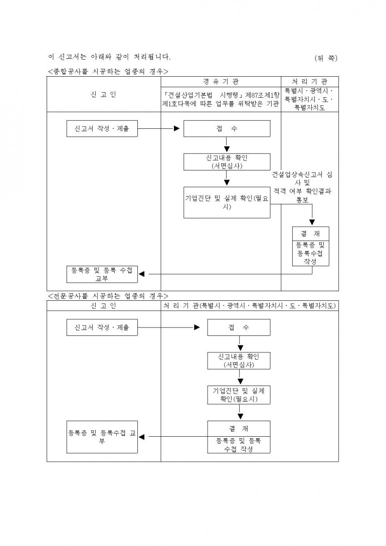
[건축관련서식] 건설업상속신고서
페이지 정보
작성자 세이프넷 작성일17-01-21 10:34 조회4,559회 댓글0건관련링크
본문
1. 상속인임을 증명하는 서류
2. 상속인에 관한 다음 각 목의 서류(해당 건설업의 등록에 관한 서류만을 말합니다)
가.「재외국민등록법 」제3조에 따른 재외국민인 경우에는 재외국민등록증 사본 및 여권 사본
나. 법인인 경우에는 대차대조표ㆍ손익계산서, 개인인 경우에는 영업용자산액명세서와 그 증빙서류
다.「건설산업기본법 시행령」 제13조제1항제1호의2에 따른 보증가능금액확인서(보증가능금액확인서 발급기관이 시ㆍ도지사 또는 「건설산업기본법 시행령」 제87조제1항제1호가목에 따른 등록업무를 위탁받은 기관에 그 발급내용을 통보한 경우에는 보증가능금액확인서를 제출한 것으로 봅니다)
라. 「건설산업기본법 시행령」 별표 2의 시설ㆍ장비에 관한 다음 각 목의 서류
1)「건설산업기본법 시행령」 별표 2에 규정된 사무실을 갖추었음을 증명하는 임대차계약서 사본(임대차인의 경우만 해당합니다)
2)「건설산업기본법 시행령」별표 2에 따른 건설공사용 시설의 현황을 기재한 서류
3)「건설산업기본법 시행령」 별표 2에 따른 건설공사용 장비의 현황(영업용에 제공되는 기계 및 기구의 명칭ㆍ종류ㆍ성능 및 수량을 말합니다)을 기재한 서류
마. 기술인력의 보유현황
바. 외국인 또는 외국법인이 신고하는 경우에는 해당 국가에서 「건설산업기본법」 제13조제1항 각 호의 어느 하나에 따른 사유와 같거나 비슷한 사유에 해당하지 아니함을 신고인(법인인 경우 대표자를 말합니다)이 확인한 확인서
댓글목록
등록된 댓글이 없습니다.








